As much as we all love the DualShock and other gaming controllers, they do have their limitations, something motion controls have tried (and failed) to take advantage of. But Sony has another solution – use your tongue.
The patent, which PSLS was the first to exclusively uncover (why this is important), is from Sony Computer Entertainment, Sony’s gaming and PlayStation division. Only just published, but filed back in August last year, the patent for a “Tongue Tracking Apparatus” describes a “a mouthpiece configured to be worn over one or more teeth of a user of the computer program”, with the “mouthpiece including one or more sensors configured to determine one or more tongue orientation characteristics of the user.”

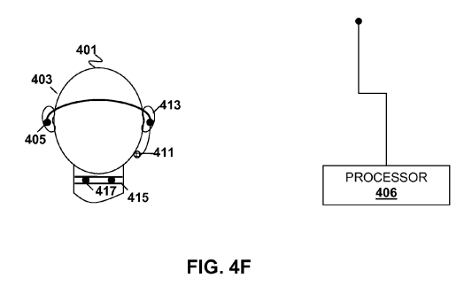
The patent also covers other methods of working out where your tongue is, that would be used in addition to the mouthpiece, including headsets that cover your face in sensors. These sensors include microphones in the ear, stethoscope acoustic sensors, microphones in the jaw, Bluetooth sensors, an ultrasound sensor or an infrared sensor. A necklace was also described, that could have pressure sensors on your neck.

Sadly, SCE doesn’t go into great detail on how they expect people to play Call of Duty with their tongue, only saying:
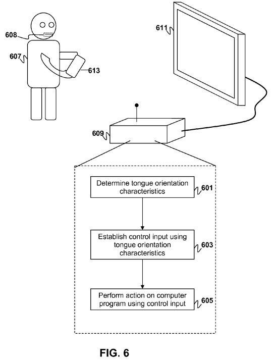
For example, if the user’s tongue is moving to the right, a control input that corresponds to moving an object in the virtual environment created by the computer program to the right may be established.
After the control input has been established, the computer program may perform an action based on the control input as illustrated at 605. By way of example, and not by way of limitation, this action may be the movement of an object associated with a virtual environment created by the computer program.
Interestingly, SCE mentions the processor that would be housed in your mouth, highlighting the Cell Processor (used in the PS3) as an example.
Could you see yourself playing Uncharted with your fleshy mouth snake? Let us know in the comments below.
