
Tetsuya Nomura, director for games in the acclaimed Kingdom Hearts and Final Fantasy series, is obviously working on many new projects. One of them has been uncovered in a recent patent application for a character switching system.

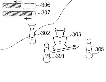
The images are not exactly clear scans, but what can be made out amounts to a couple of flowcharts that explain how the combat and character-swapping systems work. In essence, you can take the main character and control a temporary character for a limited amount of time. Once you are back to yourself, you retain the main magic power the temporary character held in addition to your own. Also, as evident by the first image, the game may be coming to the PlayStation Portable.

There are a couple more scans in this bunch. The one above seems to show how the camera positions itself when the player switches characters. There are a handful more images in the gallery below, what else can you spot?
[Source]






