Fitness games form one of the most popular genres in the gaming industry, and although many hardcore gamers dislike the titles, it is hard to ignore the high sales such games have. With Nintendo’s Wii Fit franchise having sales in the tens of millions, developers and publishers cannot be blamed for wanting a piece of this lucrative market. For fitness games to truly work, they require peripherals that measure your levels of interaction and exercise, meaning that publishers must create and support costly controllers that can either end up creating a hugely successful franchise or an expensive failure. Recent patent publications reveal one such device which may end up in front of your PlayStation some time in the future.
The fitness controller is described as such:
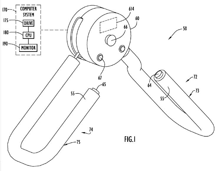
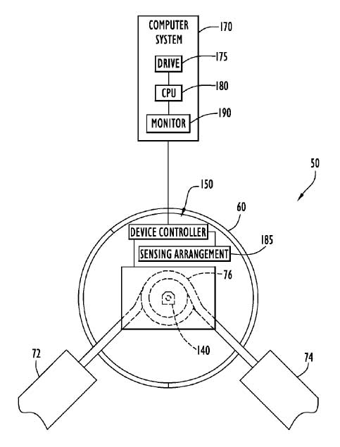
“The present invention embodiments promote performance of exercise by users during a computer simulation or game. An embodiment of the present invention includes an exercise device with a plurality of effector or gripping members in the form of handles to be manipulated by a user. A coil steel spring provides the resistance for the handles that may be compressed together or pulled apart for resistance-based exercise. The device further includes additional input devices to interact with a simulation or gaming scenario. The user applies forces to the handles to interact with the scenario, thereby requiring the user to perform exercises during the simulation or game play.”
Which platforms the device will be on, if any, is unknown, but the patent does state that the “system may be implemented by any quantity of any personal or other type of computer or processing system”. As the patent is not openly filed by any of the console manufacturers it is likely that the controller would be available on all major platforms, including the PlayStation 3.
While the original filing date for the patent was way back in May of 2009, the publication date for the product is as recent as January of this year, showing that not only has it been in existence long enough for a game to be well into development, but that the developer is still interested in the system.
What do you make of this spring-based peripheral? Would it tempt you to exercise on your console?




