After a patent for a Sony Kinect-like camera for PlayStation that can detect depth was discovered earlier this week, we’ve uncovered yet another patent for such a device.
The patent, which was only just published, was also filed back in October 2011 and is for “Apparatus For Image and Sound Capture in a Game Environment”. Throughout the patent, several references are made towards the camera being able to work out depth, making 3D tracking possible:
The apparatus for capturing image and sound of claim 1, wherein the image capture device is a depth camera that captures depth values for a plurality of pixels.
And:
The apparatus for capturing image and sound of claim 5, further comprising an infrared light for providing controlled infrared lighting; wherein the depth camera uses the controlled infrared lighting to obtain the depth values.
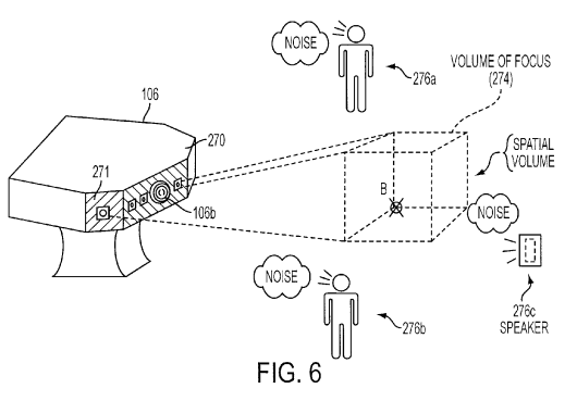
Along with many other depth-related comments. As the patent is focused on sound, it also goes on to talk about how sound could be “identified at a particular spatial volume using microphones in different planes”:

If this camera becomes a reality – just like the rear touch supporting handheld patent we uncovered, or the SimulView TV patent we spotted both came true – could you see yourself using a Kinect like device to play a PS4 version of God of War or Uncharted? Share your thoughts in the comments below.
