A recently filed patent could indicate additional unannounced details about Sony’s PS5 backwards compatibility strategy and keeping its 25-year library of games alive. One of the longest-running requests throughout the years for PlayStation faithful has been true and easy backward compatibility, to little or no avail. Sure, there was that model of the PS3 that could play PS1 and PS2 games and there’s even been a push from Sony to include more PS2-era offerings as digital game purchases, but it simply isn’t the same as native backward compatibility with our old games. While we’re remiss to compliment Microsoft too much here at PlayStation LifeStyle, its backward compatibility push in the past few years to not only allow the playing of old Xbox games but to, in some cases, improve them, is an attractive selling point and one that creates some true FOMO for Sony consumers who just want to pop in an older title. If a patent filed recently by Sony in Japan is any indicator the company could be looking to make emulation inroads that would allow PS1, PS2, and PS3 emulation through cloud streaming.
SIEのPS5?特許情報をメモします。
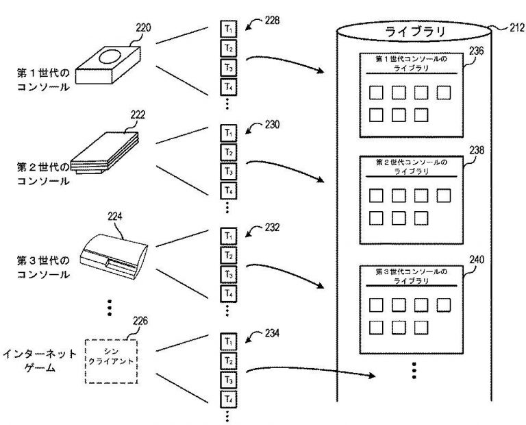
・PS1/PS2/PS3、様々な世代のゲーム機にわたる大量のゲームタイトルが、クラウドゲーミングライブラリを介して蓄積され利用可能。
・これらのゲームは、それぞれのゲーム機に関連したオペレーティングシステムを模倣した仮想マシンの上で実行可能。 pic.twitter.com/TsWV859OLd
— れんか (@Renka_schedule) July 4, 2020
A series of tweets from Japanese user @Renka_schedule reveal a newly filed patent by Sony Japan that appears to show emulation of PS1, PS2, and PS3 games onto various screens through cloud gaming and streaming. It would be easy to assume that the technology in question is Sony’s PlayStation Now service, which has long been rumored to be potential competition for Microsoft’s own Xbox Game Pass but never quite followed up on that promise of potential. According to the rough Google Translate version of these tweets, “A large number of game titles across PS1/PS2/PS3 and various generations of game consoles can be stored and used via the cloud gaming library. These games can be run on a virtual machine that mimics the operating system associated with each game console.”
While the addition of emulation in this way isn’t quite the same as backward compatibility, it is better than nothing (and certainly a whole lot less expensive) and adds value to a PlayStation Now service that has never truly connected with its potential audience—if this is even part of PlayStation Now at all. As someone who beta tested PlayStation Now and immediately bounced off how inefficient the service appeared to run, I could see myself coming back for a chance to properly play titles from PlayStations past. It’s not quite backwards compatibility, and it will also largely depend on Sonys execution of the patent, but it’s something that shows Sony’s interest in keeping the old games alive.

