Sony Patents Futuristic Interactive TV

sonyp1

Sony has been on the scene of cutting-edge technology for years now. Their 3D holographic display was shown publicly in Tokyo only weeks ago, and several other interesting futuristic technologies have also been demonstrated. Judging by a recent patent, Sony has plans for an upcoming technology which allows consumers to not only watch movies, but interact with them as well.



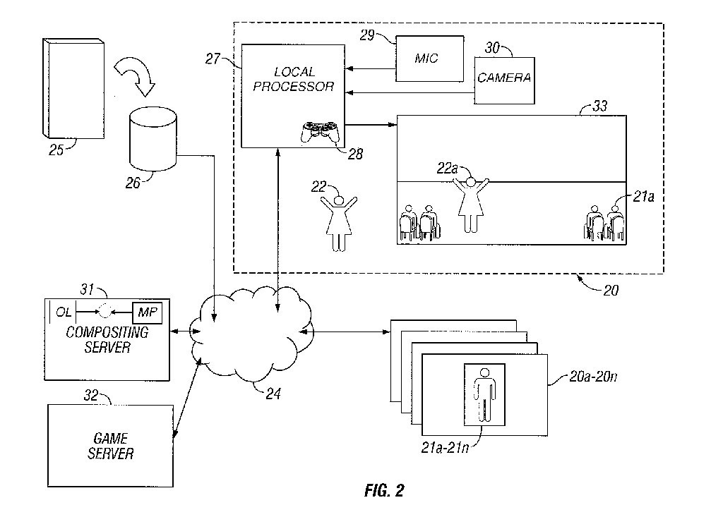
As shown in the image above, this recently patented Sony technology provides consumers with the ability to interact with on-screen overlays while watching videos and other media. The patent mentions that the technology draws inspiration from Mystery Science Theater 3000 which was a popular comedy series in the 90’s. Also mentioned in the official document is the following:

“For example, avatars displayed to a user, in response to user gestures in the real world, e.g. in response to manipulation of a game controller or other such expedient, may toss tomatoes that stick to the actor’s face or bounce off the actor’s face and roll along a table that appears in the movie or television show.”

The potential for this technology is limitless, and will include co-operative and interactive games to keep consumers entertained. While the technology will be utilized with the PlayStation 3 is up in the air, the combination of this technology with the recently announced PlayStation 3 Netflix integration seems like a big win for PlayStation 3 owners.

[Source]

X