While it is pretty certain that Sony are creating a PlayStation Portable 2, most likely for 2011, what the handheld will actually look like, and how people will interact with it, is unknown. Now, PlayStation LifeStyle has uncovered strong evidence that the PSP2 will have not one, but two, touch interfaces – reinventing how we interact with touchscreen devices.
Sony Computer Entertainment America (SCEA) – Sony’s PlayStation Division – has filed several patents for touch screen interfaces for a future product, most likely a PSP2. The device, shown in illustrations below, will allow users to view content on one screen, while controlling the device on another. The patent explains how previous touch screens caused the “user’s fingers [to] often obscure the part that is to be selected”, so to fix this, users will use a different touch screen, or touch pad, to interact without blocking their view.

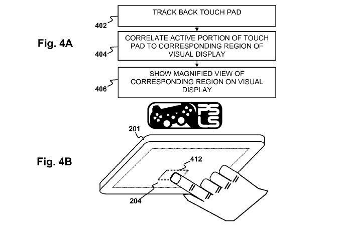
As shown in the screen above, the text on the front screen is controlled via a touch pad on the back of the device. This is explained further:
A touch pad 204 may be located on another major surface 225B of the case 201 (referred to herein as the back surface) that is opposite the front surface. The case may be of sufficiently small size that it can be held in a user’s hand.
The ‘Track Back Touch Pad’ will correlate to a corresponding region of the visual display, as pictured below:

Here the screen shown is the bottom of the device, showing how your hand will not obscure your view.
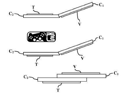
How the two screens will actually be placed is not specified, with several variations in how the screens will be arranged below:

The patent explains that it may be a touch screen or touch pad:
In some embodiments, the touch sensitive interface may be a touch screen that is part of the visual display. Alternatively, the touch sensitive interface may be a touch pad that is separate and apart from the visual display.There are a number of possible configurations for the visual display and touch pad.
The implications for a PlayStation Portable with such a screen interface could be massive, revolutionising not only gaming, but the entire touch screen industry. Effectively eliminating one of the major gripes about touch screen devices, websurfing, apps, ebooks and games would be controlled through an entirely different way.
The uniqueness of the interface could make the PSP2 a true contender for dominance of the touch pad market, taking on giant Apple and possibly even beating the iPad.

But is the device an attempt at a quick cash-in on the success of the iPad? Despite the patent only having been published a few days ago, it was originally filed back in October 2009, with work on the handheld possibly starting before then. SCEA has published several patents for the device and interface here, here and here, with the patent attorney Gary Zalewski working for SCEA – adding credence to this being a PlayStation product.
This comes on top of previous rumors that the PSP2 will have a back touchpad, with Kotaku rumoring a trackpad, and VG247 releasing pictures of what looks like a back panel.
Are you looking forward to the future of control interfaces being another touch panel? Let us know in the comments below.
