Over the course of the year, we’ve been uncovering patent after patent from Sony Computer Entertainment for a 3D depth sensing camera similar to the Kinect. This month’s patent once again suggests that Sony are working on a camera akin to the Kinect, with this one highlighting how your fingers could be used like a gun.

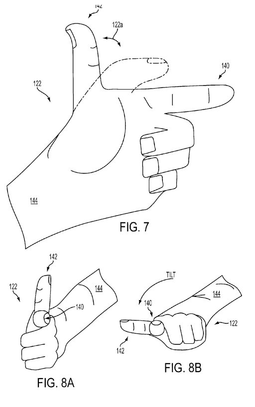
In Fig 7, moving the thumb fires the gun. The patent goes on to state:
For example, the user may be able to shoot by different hand gestures, may be able to reload the gun with different gestures, and the different positions or orientations of the user’s hand may cause different graphical renderings of the user or gun on the display screen when the user is interacting with a particular game program.
Microsoft’s best-selling Kinect can’t do proper finger tracking, so this camera would be superior – although rumors are that the Kinect 2 will feature finger tracking.
Would you like to use your fingers as a gun, or do you love buttons too much? Let us know in the comments below.
