Sony Patent Outs Potential Move Peripherals, Wii U Style Sharpshooter

It’s time for another one of PSLS’ famous patent posts, looking into what Sony’s secretly cooking up in their tech labs! This time, we delve into a PS Move peripheral patent that hints at potential Move add-ons that could be coming, or could be left on the drawing board.

It’s always important to first point out that just because a product is patented, doesn’t mean that it’s coming (although we thought Sony would never make this, and they did).

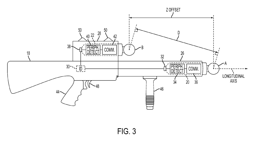
The recently published patent that PSLS uncovered shows a whole host of different guns for the PlayStation motion controller. The first and second diagram show something much like the current sharpshooter, except it makes use of two controllers for added accuracy:

Then there’s a Move pistol which is rather similar to some 3rd party options out there, except there are “secondary tracking objects” which “are located at a different depth relative to the tracking object” at the top and bottom for increased accuracy:

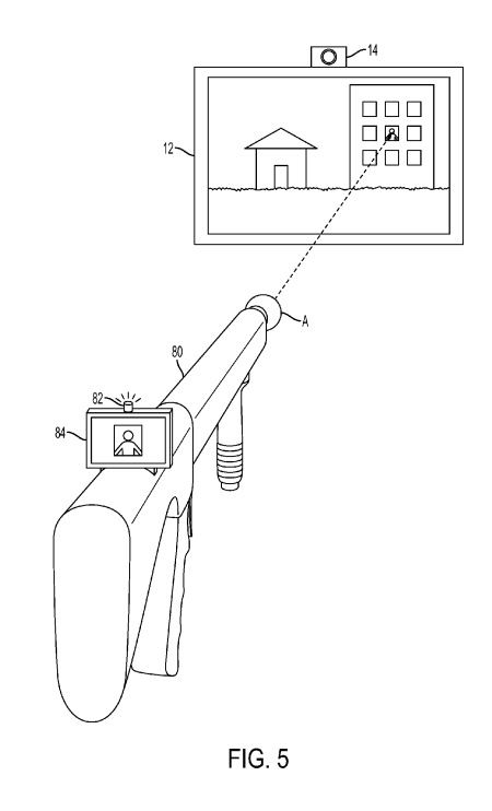
Perhaps the most interesting diagram is “Fig. 5”, which includes a secondary screen that helps the gun act as a sniper rifle. The display “can be configured to display various types of images, video or other data related to the video game” including the “magnified view of a portion of the scene of the video game rendered on the display” shown below. This is rather like what the Wii U plans to do with its controller and a zapper:

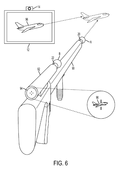
The next patent is a mixture of the above, using two Move controllers and a far smaller screen that “enables the user to view the image shown on the internal display when the user’s eye is positioned proximate to the lens of the scope”. This would give sniper games far more added realism, and make for a killer Silent Scope port:

Figures 7 and 8 are rather odd, with no obvious use shown. In Fig. 7 the middle bit is meant to be a rubber textured grip, which would make the peripheral an awesome dual-lightsaber or twirling baton, but perhaps not much else. Fig. 8, on the other hand, allows for the dual controller to be bent for some reason – possibly it was an earlier iteration of the driving controller?

Would you like any of these made? If we’re lucky, Wonderbook might shift some Moves at last and make these peripherals actually worth it for Sony.

X