Could Sony be manufacturing a tennis racket-styled peripheral to be used in tandem with PlayStation VR? A leaked patent certainly suggests so.
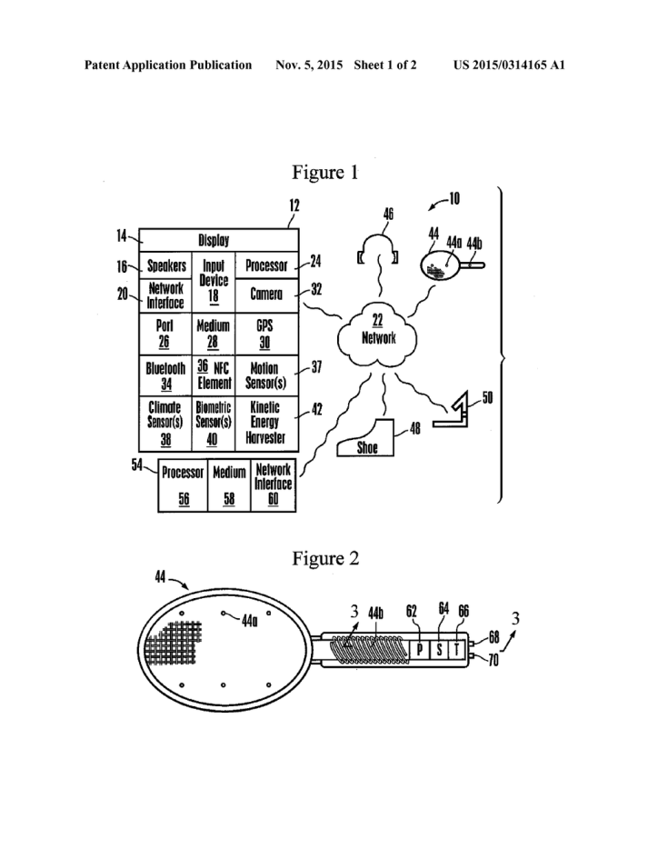
While the publisher is no stranger to filing design patents of this nature, the level of detail and specifications in the report points to an accessory that registers the user’s input in a variety of different ways, including pressure, kinetic, biometric, motion and climatic.
On paper, this would allow the purported device to incorporate the force of the player’s movement, along with the speed and distance to which they are relative to the head-mounted device.
Connecting to PlayStation VR via Bluetooth, the patent claims that “the system 10 may include one or more other CE device types such as, but not limited to, a computerised tennis racket 44 with one or more strike sensors 44a to sense when the head contacts a tennis ball and one or more handle sensors 44b such as a pressure sensors embedded in a pressure-sensitive mat to sense a person’s grip on the handle.”
Each patent is illustrated in full via the gallery below. While we wait on official word from Sony, let us know your thoughts on a Wii-esque tennis racket for PlayStation VR in the comments.
[Source: Patents Encyclopedia, PSVR]
PlayStation VR Tennis Racket Patent 11/13/15
-
Ps Vr
-
Ps Vr 1
-
Ps Vr 3
